1. صفحه اصلی
    • پربیننده‌ترین اخبار
    • مهمترین اخبار
    • آرشیو اخبار
  2. سیاسی
    • سیاست ایران
    • نظامی | دفاعی | امنیتی
    • گزارش و تحلیل سیاسی
    • مجلس و دولت
  3. امام و رهبری
  4. ورزشی
    • فوتبال ایران
    • فوتبال جهان
    • والیبال | بسکتبال | هندبال
    • کشتی و وزنه‌برداری
    • ورزش های رزمی
    • ورزش زنان
    • ورزش جهان
    • رشته های ورزشی
  5. بین الملل
    • دیپلماسی ایران
    • تولیدات دفاتر خارجی
    • آسیای غربی
    • افغانستان
    • آمریکا
    • اروپا
    • آسیا-اقیانوسیه
    • پاکستان و هند
    • ترکیه و اوراسیا
    • آفریقا
    • بیداری اسلامی
  6. فضا و نجوم
  7. اقتصادی
    • اقتصاد ایران
    • پول | ارز | بانک
    • خودرو
    • صنعت و تجارت
    • نفت و انرژی
    • فناوری اطلاعات | اینترنت | موبایل
    • کار آفرینی و اشتغال
    • راه و مسکن
    • هواشناسی
    • بازار سهام | بورس
    • کشاورزی
    • اقتصاد جهان
  8. اجتماعی
    • پزشکی
    • رسانه
    • طب سنتی
    • خانواده و جوانان
    • تهران
    • فرهنگیان و مدارس
    • پلیس
    • حقوقی و قضایی
    • علم و تکنولوژی
    • محیط زیست
    • سفر
    • حوادث
    • آسیب های اجتماعی
    • بازنشستگان
  9. فرهنگی
    • ادبیات و نشر
    • رادیو و تلویزیون
    • ‌دین ، قرآن و اندیشه
    • سینما و تئاتر
    • فرهنگ حماسه و مقاومت
    • موسیقی و تجسمی
  10. حوزه و روحانیت
  11. استانها
    • آذربایجان‌ شرقی
    • آذربایجان غربی
    • اردبیل
    • اصفهان
    • البرز
    • ایلام
    • بوشهر
    • استان تهران
    • چهارمحال و بختیاری
    • خراسان جنوبی
    • خراسان رضوی
    • خراسان شمالی
    • خوزستان
    • زنجان
    • سمنان
    • سیستان و بلوچستان
    • فارس
    • قزوین
    • قم
    • کاشان
    • کردستان
    • کرمان
    • کرمانشاه
    • کهگیلویه و بویراحمد
    • گلستان
    • گیلان
    • لرستان
    • مازندران
    • مرکزی
    • هرمزگان
    • همدان
    • یزد
    • جزایر خلیج فارس
  12. رسانه ها
    • چند رسانه ای
    • خواندنی
  13. بازار
    • قیمت خودرو
    • قیمت طلا، سکه و ارز
    • سازمان‌ها و شرکت‌ها
  14. عکس
  15. فیلم
  16. گرافیک و کاریکاتور
    • english
    • عربی
    • Türkçe
    • עברית
    • Pусский
  • RSS
  • تلگرام
  • اینستاگرام
  • توییتر
  •  
    آپارات
  •  
    سروش
  •  
    آی‌گپ
  •  
    گپ
  •  
    بله
  •  
    روبیکا
  •  
    ایتا
  • قیمت ارز و طلا
    لیگ ایران و جهان
  • صفحه اصلی
    • پربیننده‌ترین اخبار
    • مهمترین اخبار
    • آرشیو اخبار
  • سیاسی
    • سیاست ایران
    • نظامی | دفاعی | امنیتی
    • گزارش و تحلیل سیاسی
    • مجلس و دولت
  • امام و رهبری
  • ورزشی
    • فوتبال ایران
    • فوتبال جهان
    • والیبال | بسکتبال | هندبال
    • کشتی و وزنه‌برداری
    • ورزش های رزمی
    • ورزش زنان
    • ورزش جهان
    • رشته های ورزشی
  • بین الملل
    • دیپلماسی ایران
    • تولیدات دفاتر خارجی
    • آسیای غربی
    • افغانستان
    • آمریکا
    • اروپا
    • آسیا-اقیانوسیه
    • پاکستان و هند
    • ترکیه و اوراسیا
    • آفریقا
    • بیداری اسلامی
  • فضا و نجوم
  • اقتصادی
    • اقتصاد ایران
    • پول | ارز | بانک
    • خودرو
    • صنعت و تجارت
    • نفت و انرژی
    • فناوری اطلاعات | اینترنت | موبایل
    • کار آفرینی و اشتغال
    • راه و مسکن
    • هواشناسی
    • بازار سهام | بورس
    • کشاورزی
    • اقتصاد جهان
  • اجتماعی
    • پزشکی
    • رسانه
    • طب سنتی
    • خانواده و جوانان
    • تهران
    • فرهنگیان و مدارس
    • پلیس
    • حقوقی و قضایی
    • علم و تکنولوژی
    • محیط زیست
    • سفر
    • حوادث
    • آسیب های اجتماعی
    • بازنشستگان
  • فرهنگی
    • ادبیات و نشر
    • رادیو و تلویزیون
    • ‌دین ، قرآن و اندیشه
    • سینما و تئاتر
    • فرهنگ حماسه و مقاومت
    • موسیقی و تجسمی
  • حوزه و روحانیت
  • استانها
    • آذربایجان‌ شرقی
    • آذربایجان غربی
    • اردبیل
    • اصفهان
    • البرز
    • ایلام
    • بوشهر
    • استان تهران
    • چهارمحال و بختیاری
    • خراسان جنوبی
    • خراسان رضوی
    • خراسان شمالی
    • خوزستان
    • زنجان
    • سمنان
    • سیستان و بلوچستان
    • فارس
    • قزوین
    • قم
    • کاشان
    • کردستان
    • کرمان
    • کرمانشاه
    • کهگیلویه و بویراحمد
    • گلستان
    • گیلان
    • لرستان
    • مازندران
    • مرکزی
    • هرمزگان
    • همدان
    • یزد
    • جزایر خلیج فارس
  • رسانه ها
    • چند رسانه ای
    • خواندنی
  • بازار
    • قیمت خودرو
    • قیمت طلا، سکه و ارز
    • سازمان‌ها و شرکت‌ها
  • عکس
  • فیلم
  • گرافیک و کاریکاتور

"لیزر" جایگزین برف‌پاک‌کن خودرو‌ها می‌شود!

  • 06 آذر 1398 - 14:28
  • اخبار اجتماعی
  • اخبار علم و تکنولوژی
"لیزر" جایگزین برف‌پاک‌کن خودرو‌ها می‌شود!

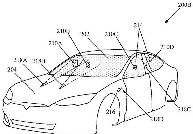
شرکت‌ تسلا اختراع جدیدی را به‌ثبت‌ رسانده که با‌ استفاده از آن، لیزر را جایگزین برف‌پاک‌کن در خودرو‌ها می‌کند!

اجتماعی

به گزارش خبرنگار اجتماعی خبرگزاری تسنیم؛ تحقیقات شرکت تسلا برای ساخت برف‌پاک‌کن لیزری به پایان رسیده و اختراع خود را به‌ثبت‌ رسانده‌ است؛ این اختراع جدید که از فناوری لیزر به‌جای برف‌پاک‌کن استفاده می‌کند می‌تواند هرگونه اضافات دیگر مانند زباله را از جلوی آینه و شیشه خودرو پاک کند.

به کار افتادن این سیستم لیزری خودکار بوده و می‌تواند با ارزیابی میزان دید راننده عملکرد خود را تنظیم کند، در واقع این سیستم تصاویر را با استفاده از حسگرها پردازش و شروع به کار می‌کند؛ این روش می‌تواند در پاکسازی سایر سطوح مانند پنل‌های خورشیدی و شیشه‌های خانه‌ها استفاده شود.

در این روش، لیزر به‌روی سطح تابیده شده و با رصد جرم روی سطح اقدام به حذف آن می‌کند؛ سطوح قابل تعریف برای عملکرد این اختراع شامل سطح شیشه، آیینه‌ها و لنز دوربین‌های خودرو می‌شود البته برای این منظور از هیچ‌گونه ماده شیمیایی هم استفاده نمی‌شود که از مزایای این طرح است.

از نواقص طرح این است که هیچ‌گونه توضیحی در مورد عملکرد لیزری در باران و طوفان ذکر نشده‌ است.

پلیس برای خرابی برف‌پاک‌کن خودرو چقدر جریمه می‌نویسد؟

انتهای پیام/+

 

 
R1356/P
قیمت ارز و طلا
لیگ ایران و جهان
حج و زیارت
واژه های کاربردی مرتبط
  • علم و تکنولوژی
  • خودروهای خارجی
  • بارش برف
  • لیزر و فوتونیک
بیشتر بخوانید
سردار تقی‌زاده: سلاح پدافند هوایی لیزری در حال تولید انبوه است/ افزایش بُرد موشک‌های کروز زمینی
ایران یازدهمین کشور برتر دنیا در انتشار مقالات حوزه لیزر
دستیابی ایران به سلاح توپ‌ لیزری/ مراکز حساس کشور با سامانه‌های لیزری محافظت می‌شوند
tasnim
tasnim
tasnim
رازی
مادیران
شهر خبر
fownix
غار علیصدر
پاکسان
بیمه بازار
طبیعت
میهن
گوشتیران
triboon
تبلیغات
  • طراحی سایت
  • بازرگانی سیب
  • آیا بیماری اسکولیوز خطرناک است؟
  • استعلام شرکت با نام
  • بازی آنلاین
  • درباره ما
  • ارتباط با ما
  • پربیننده‌ترین اخبار
  • پیوندها
  • بازار
  • قیمت ارز و طلا
  • لیگ ایران و جهان
  • آرشیو اخبار ؛ جدیدترین اخبار لحظه به لحظه امروز
ما را دنبال کنید:
  • RSS
  • تلگرام
  • اینستاگرام
  • توییتر
  • آپارات
  • سروش
  • آی‌گپ
  • گپ
  • بله
  • روبیکا
  • ایتا

All Content by Tasnim News Agency is licensed under a Creative Commons Attribution 4.0 International License.